auto parts, heavy equipment parts, discount auto parts

 

Home News Buy Now ! Site Map Contact Us

 

50MT Starters
42MT Starters
39MT Starter
37MT Starters
28MT Starters
34SI to 30SI Alternators
26SI to 20SI Alternators
Delco Remy Distributor

 

Delco Remy®
NewIndo products
Transmission Gears
KROSS Axles shafts
NRB Bearings

 

Delco Remy® :: SD80 Starter

   

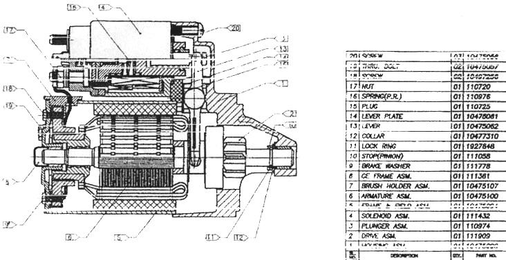
This 0.8KW, 12V, clockwise rotation Delco Remy starter motor, is fitted on Daewoo Matiz, Tico model of cars. This unit is ideally suited for gasoline engines upto 1.6 liters, in automobile application. This is a permanent magnet starter motor with reduction gear technology for optimal output in very small size. The starter has a solenoid switch arrangement for engagement of drive assembly with ring gear. This high speed unit has twin bearing arrangement for long service life and performance.

 
sd80 starter exploded view

SD80 Delco Remy starter motor

daewoo matiz
Need to service and repair your unit, click here for original Delco Remy service parts for optimal maintenance.

96275481 Starter motor SD80 / 12V / CW   -   Add to cart

 

Copyright ©1999-2005 New Indo Trading Company

You are using

Web hosting by IndicHosts.net

All Trademarks, Brand names mentioned on our WebPages such as "Delco Remy, Kross, NRB, Matchless, Hitachi, Komatsu, Kobelco, TATA, Massey Ferguson, Caterpillar, Cummins" among others, are mentioned here, solely for descriptive purposes and are the Property of their Respective Owners.